Nous utilisons les cookies pour vous offrir une meilleure expérience utilisateur. Pour se conformer à la nouvelle directive concernant la vie privée, nous devons vous demander votre consentement pour sauvegarder des cookies sur votre ordinateur. En savoir plus.
Ballon tampon 1000 litres gamme standard classe C
Vous avez une question? .
Disponibilité : En stock
Label énergétique
Code produit
THERB1000HE
1 242,00 €
1 035,00 €
Ballon tampon 1000 litres gamme standard classe C
Diamètre sans isolation 790mm
Diamètre avec isolation 1010mm
Hauteur avec isolation 2090 mm
Diagonale de bascule 2322 mm
Ballon tampon 1000 litres gamme standard classe C
Corps acier
Isolation : fibre de polyèster d'une épaisseur de 110mm pour les autres modèles.
Résistance au feu Bs2d0 selon EN13501-1:2007-A1
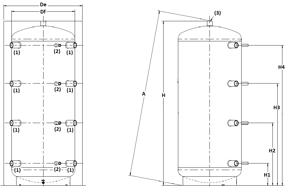
Dimensions ballon tampon 1000 litres
Df 790
De 1010
H 2090
A 2322
H1 310
H2 745
H3 1250
H4 1720
(1) 1"1/2
(2) 1/2"
(3) 1"1/2
Caractéristiques techniques
Pression max: 3 bars
Température maxi : 99 °C
4 * 2 piquage principaux
4 piquages pour sondes, thermomètres
| Délai livraison | 5-7 jours |
|---|---|
| Port 1€ | Oui |


